Wide Bandgap Electronics Group
Wide Bandgap Electronics Group
Team
Publications
News & Media Coverage
Invited Talk
Capabilities & Equipment
Contact
Patent
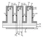
Plasma-free etched b-ga2o3-nio merged pin schottky diode with high-voltage stress reliability (pending)
A semiconductor device includes a layered structure forming multiple carrier channels extending in parallel at different depths of the …
Joseph A. Spencer
,
Marko J. Tadjer
,
Alan G. Jacobs
,
Karl D. Hobart
,
Yuhao Zhang
,
Neeraj Napal
Link
Termination structures for semiconductor devices (pending)
A process for forming a device can include forming a first semiconductor region having a first conductivity type. The process can …
Yuhao Zhang
,
Ming Xiao
Link
Power Schottky barrier diodes with high breakdown voltage and low leakage current
This disclosure provides a diode including a semiconductor region having at least one two-dimensional carrier channel of a first …
Yuhao Zhang
,
Ming Xiao
Link
Charge balanced power Schottky barrier diodes
This disclosure provides a diode including a semiconductor region having at least one two-dimensional carrier channel of a first …
Yuhao Zhang
,
Ming Xiao
Link
Charge balanced power transistors (pending)
A semiconductor device includes a semiconductor region having at least one two-dimensional carrier channel of a first conductivity …
Yuhao Zhang
,
Ming Xiao
Link
Heterogeneous superjunction devices (pending)
A device may include a substrate of a first conductivity type, the first conductivity type being one of a n-type conductivity and a …
Yuhao Zhang
,
Ming Xiao
,
Yunwei Ma
Link
Monolithic cascode multi-channel high electron mobility transistors (pending)
This disclosure provides semiconductor device including a first transistor with a first gate terminal, a first source terminal, and the …
Yuhao Zhang
,
Ming Xiao
Link
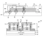
ß-Ga2O3 Junction Barrier Schottky (JBS) Diodes with Sputtered p-Type NiO (pending)
A self-aligned lithography process for the fabrication of an electronic device having predefined areas of a second semiconductor …
Joseph A. Spencer
,
Marko J. Tadjer
,
Alan G. Jacobs
,
Karl D. Hobart
,
Yuhao Zhang
Link
Gallium Oxide Planar MOS-Schottky Rectifier (pending)
A semiconductor device includes a layered structure forming multiple carrier channels extending in parallel at different depths of the …
Marko J. Tadjer
,
Hannah N. Masten
,
Joseph A. Spencer
,
Alan G. Jacobs
,
Karl D. Hobart
,
Yuhao Zhang
Link
Heterogeneous termination structures for semiconductor devices (pending)
A device may include a first semiconductor region of a first conductivity type having a top surface and being formed of a first …
Yuhao Zhang
,
Ming Xiao
,
Boyan Wang
Link
»
Cite
×